Overview
Section I: Introduction to Embedded Systems
Chapter 1: A Systems Engineering Approach to Embedded Systems Design
- Defining embedded systems and the design process.
- Introduction to embedded systems architecture and its importance.
- The Embedded Systems Model (a layered approach consisting of Hardware, System Software, and Application Software).
Chapter 2: Know Your Standards
- Overview of programming language and networking standards.
- Examples including Digital Television (DTV) as a multiple standards-based device.
Section II: Embedded Hardware
- Chapter 3: Embedded Hardware Building Blocks and the Embedded Board
- Learning to read schematics and hardware symbols.
- The von Neumann Model and its application to embedded boards.
- Basic materials (conductors, insulators, semiconductors) and components (resistors, capacitors, inductors, diodes, transistors).
- Integrated Circuits (ICs) and their role as building blocks.
• Chapter 4: Embedded Processors
- Instruction Set Architecture (ISA) models (CISC, RISC, SIMD, VLIW, etc.).
- Internal processor design (ALU, Control Unit, Registers) and on-chip memory.
- Processor performance and reading datasheets.
• Chapter 5: Board Memory
- Types of memory (ROM, RAM, Auxiliary memory) and their hierarchies.
- Memory management units (MMUs) and cache.
• Chapter 6: Board I/O (Input/Output)
- Managing data via Serial (RS-232, 802.11) vs. Parallel (IEEE 1284) I/O.
- Ethernet networking and communications.
• Chapter 7: Board Buses
- Types of buses (System, Backplane, I/O) and arbitration schemes.
- Examples: I2C and PCI buses.
Section III: Embedded Software Introduction
• Chapter 8: Device Drivers
- Interrupt-handling, memory, on-board bus, and I/O drivers.
• Chapter 9: Embedded Operating Systems
- Process management, multitasking, and scheduling.
- OS-level memory and I/O management.
- POSIX standard and Board Support Packages (BSPs).
• Chapter 10: Middleware and Application Software
- Defining middleware (networking protocols like PPP, IP, UDP and the JVM).
- Application layer examples (FTP, SMTP, HTTP).
Section IV: Putting It All Together: Design and Development
• Chapter 11: Defining the System—Creating the Architecture and Documenting the Design
- The six stages of creating an architecture.
- Architecture Business Cycles (ABC), patterns, and reference models.
- Documenting via the “4+1” model and evaluating the design.
• Chapter 12: The Final Phases of Embedded Design: Implementation and Testing
- Implementation tools (IDEs, CAD, Compilers, Debuggers).
- The system boot-up process and quality assurance (testing).
- Maintaining the system after deployment.
Highlights
Section 1
What An embedded system is an applied computer system, as distinguished from other types of computer systems such as personal computers (PCs) or supercomputers.
The embedded system model

Why An embedded systems architecture can be used to resolve many challenges early in a project.
How
- Creating the architecture
- Implementing the architecture
- Testing the architecture
- Maintaining the architecture
Section 2
Embedded Hardware Building Blocks and the Embedded Board
- PW - Printed wiring board
- PCB - Printed circuit board
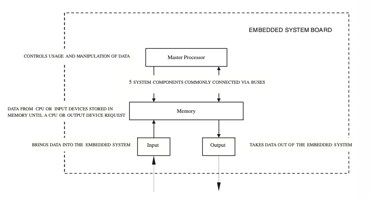
- The von Neumann Model and the Embedded system board organization (冯·诺依曼模型)
- Central Processing Unit (CPU) - the master processor
- Memory - where the system’s software is stored
- Input Device(s) - input slave processors and relative electrical components
- Output Device(s) - output slave processors and relative electrical components
- Data Pathway(s)/Bus(es) interconnects the other components, providing a “high-way” for data to ravel on from one component to anther, including any wires, bus bridges, and/or bus controllers

- Basic materials
- Conductors (导体)
- Insulators (绝缘体)
- Semiconductors (半导体)
- Passive Components
- Resistors (电阻)
- Capacitors (电容)
- Inductors (电感)
- Active Building Blocks of Processors and Memory
- Diodes (二极管)
- Transistors (晶体管)
- Gates (晶体管)
- Sequential Logic and the Clock (时序逻辑与时钟)
- IC
- Integrated circuit (集成电路)
Embedded Processors
Board Memory
Board I/O